您現在所在位置:大田閥門 >> 襯氟閥門(襯里閥門)
設計與制造:BS5156
結構長度:BS5156
法蘭連接尺寸:BS4504、DIN2532、JIS B2212、ANSI B16.1、IS02004
EG6K41F(無襯里)、EG6K41Fs(襯氟塑料)氣動隔膜閥(常開型)專用于控制非腐蝕性或強腐蝕性介質,閥體內腔表面無襯里或覆有可供選擇的各種氟塑料,適用于不同工作溫度和流體管路。
適用溫度:≤85℃、≤100℃、≤120℃、≤150℃、(可按照襯里和隔膜材料)
壓力等級:0.6、1.0、1.6
襯里層:電火花檢測
實驗與檢驗按BS6755標準
公稱壓力:PN閥體:PN×1.5 密封:PN×1.1
材料: 閥體:鑄鐵、球墨鑄鐵、碳鋼、不銹鋼 閥蓋:鑄鐵、球墨鑄鐵、碳鋼、不銹鋼
襯里:無襯里、氟塑料 隔膜:氟塑料
閥瓣:鑄鐵、碳鋼 氣缸:鋁合金、碳鋼 氣動薄膜:橡膠 閥桿:碳鋼、不銹鋼 手輪:鑄鐵
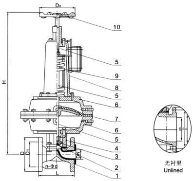
部件列表:1、閥體2、隔膜3、閥瓣4、閥蓋5、上中下閥桿6、氣缸7、氣動薄膜8、彈簧蓋9、彈簧10、手輪

| DN | 公稱壓力 | 工作壓力 | L | D | D1 | n-Фd | f | H | D0 | B | 代號 | 氣源 壓力 |
氣源接頭 | 耗氣量 | 重量 |
|---|---|---|---|---|---|---|---|---|---|---|---|---|---|---|---|
| 15 | 1.6 | 1.6 | 108 | 95 | 65 | 4-13.5 | 2 | ||||||||
| 20 | 117 | 105 | 75 | 4-13.5 | 2 | 343 | 140 | 168 | 68 | 0.3 | 1/8 | 163.87 | 6.3 | ||
| 25 | 127 | 115 | 85 | 4-13.5 | 2 | 345 | 140 | 168 | 68 | 0.3~0.4 | 1/8 | 196.65 | 7.3 | ||
| 32 | 146 | 140 | 100 | 4-17.5 | 2 | 363 | 140 | 260 | 68 | 0.3~0.4 | 1/8 | 229.4 | 8.3 | ||
| 40 | 259 | 150 | 110 | 4-17.5 | 2 | 430 | 140 | 260 | 69 | 0.3~0.4 | 1/4 | 1458.7 | 14.3 | ||
| 50 | 190 | 165 | 125 | 4-17.5 | 2 | 575 | 140 | 260 | 70 | 0.3~0.4 | 1/4 | 3162.7 | 26 | ||
| 65 | 1.0 | 1.0 | 216 | 185 | 145 | 4-17.5 | 2 | 588 | 140 | 260 | 70 | 0.3~0.4 | 1/4 | 3243 | 30.8 |
| 80 | 254 | 200 | 160 | 8-17.5 | 2 | 769 | 165 | 425 | 71 | 0.4~0.5 | 3/8 | 6636.8 | 64.9 | ||
| 100 | 305 | 220 | 180 | 8-17.5 | 2 | 816 | 280 | 425 | 71 | 0.4~0.5 | 3/8 | 6948 | 70.3 | ||
| 125 | 356 | 250 | 210 | 8-17.5 | 3 | 820 | 280 | 425 | 71 | 0.4~0.5 | 3/8 | 7374.2 | 80.7 | ||
| 150 | 406 | 285 | 240 | 8-22 | 3 | 920 | 280 | 549 | 72 | 0.5 | 3/8 | 10652 | 131.2 | ||
| 200 | 0.6 | 521 | 340 | 295 | 8-22 | 3 | 1010 | 280 | 549 | 72 | 0.6 | 3/8 | 16715 | 212 | |
| 250 | 635 | 395 | 350 | 12-22 | 5 |
注:1.氣動隔膜閥門尚可附裝反饋信號、限位器或定位器,以適應自控、程控或調節流量的需要。
2.氣動閥門的反饋信號采用無觸點傳感技術。
3.采用薄膜式氣缸替代活塞式氣缸,排除了活塞環易損漏而導致無法啟閉閥門的弊端
4.當氣源發生故障時,可操作手輪使閥門開啟。
1.氣動隔膜閥可根據不同的介質和操作壓力,按下表選擇不同規格的執行機構,以達到最理想的使用效果。
2.下表中帶★標記的為本廠基型配置產品。
3.當用戶不提出要求時,氣動隔膜閥的密封壓力一般調試為0.66MPa,只有LP<0.6MPa的閥門,其密封壓力按表中的LP值進行調試。
4.表中的OP為氣源操作壓力,LP為管道壓力。

| 公稱通徑 | 工況條件 | 氣動裝置操作壓力范圍 | ||||||
|---|---|---|---|---|---|---|---|---|
| ES67 | ES68 | ES69 | ES70 | ES71 | ES72 | ES73 | ||
| 20 | OP | 0.34 | 0.2 | |||||
| LP | 1.0★ | 1.0 | ||||||
| 25 | OP | 0.5 | 0.18 | |||||
| LP | 0.1★ | 1.0 | ||||||
| 32 | OP | |||||||
| LP | ||||||||
| 40 | OP | 0.6 | 0.4 | 0.21 | ||||
| LP | 0.6 | 1.0★ | 1.0 | |||||
| 50 | OP | 0.6 | 0.44 | 0.35 | 0.19 | |||
| LP | 0.25 | 1.0 | 1.0★ | 1.0 | ||||
| 65 | OP | 0.6 | 0.46 | 0.25 | ||||
| LP | 1.0 | 1.0★ | 1.0 | |||||
| 80 | OP | 0.54 | 0.4 | 0.21 | ||||
| LP | 1.0 | 1.0★ | 1.0 | |||||
| 100 | OP | 0.6 | 0.52 | 0.30 | ||||
| LP | 0.6 | 1.0★ | 1.0 | |||||
| 125 | OP | 0.6 | 0.6 | 0.4 | ||||
| LP | 0.35 | 1.0 | 1.0 | |||||
| 150 | OP | 0.6 | 0.44 | |||||
| LP | 0.6 | 0.7★ | ||||||
| 200 | OP | 0.6 | ||||||
| LP | 0.6★ | |||||||
| 250 | OP | |||||||
| LP | ||||||||
| 代號w | ES67 | ES68 | ES69 | ES70 | ES71 | ES72 | ES73 | |||||||||
|---|---|---|---|---|---|---|---|---|---|---|---|---|---|---|---|---|
| D0w | 140 | 140 | 165 | 280 | 280 | 483 | ||||||||||
| Bw | 168 | 260 | 318 | 425 | 459 | 749 | ||||||||||
| DN | H | Kg | H | Kg | H | Kg | H | Kg | H | Kg | H | Kg | H | Kg | ||
| 20 | 149 | 3.5 | 266 | 7.5 | ||||||||||||
| 25 | 153 | 4.5 | 358 | 8 | 404 | 13.5 | ||||||||||
| 32 | 374 | 10.5 | 424 | 17 | ||||||||||||
| 40 | 388 | 12 | 434 | 16.5 | ||||||||||||
| 50 | 411 | 15.5 | 534 | 20 | 579 | 25.5 | ||||||||||
| 65 | 550 | 26.5 | 595 | 31 | ||||||||||||
| 80 | 573 | 33 | 604 | 37 | 772 | 59.5 | ||||||||||
| 100 | 600 | 42 | 644 | 48.5 | 810 | 70.5 | ||||||||||
| 125 | 662 | 56.5 | 829 | 78 | 883 | 152 | ||||||||||
| 150 | 889 | 105 | 953 | 129 | ||||||||||||
| 200 | 1027 | 211 | 1267 | 284 | ||||||||||||
| 250 | 1333 | 353 | ||||||||||||||
注:表中重均為短結構閥體。
| DN | ES53 ES60 ES67 |
ES54 ES61 ES68 |
ES62 | ES55 ES69 |
ES63 | ES56 ES70 |
||||||
|---|---|---|---|---|---|---|---|---|---|---|---|---|
| In3 | cm3 | In3 | cm3 | In3 | cm3 | In3 | cm3 | In3 | cm3 | In3 | cm3 | |
| 20 | 2.2 | 36.05 | 10 | 163.87 | ||||||||
| 25 | 2.5 | 40.97 | 12 | 196.65 | 70 | 1147.1 | 70 | 1147.1 | ||||
| 32 | 14 | 229.4 | 83 | 1360.1 | 74 | 1212.6 | ||||||
| 40 | 16 | 262.19 | 87 | 1425.7 | 89 | 1458.4 | ||||||
| 50 | 20 | 327.74 | 91 | 1491.2 | 85 | 1392.9 | 175 | 2884.1 | 193 | 3162.7 | ||
| 65 | 96 | 1573.5 | 90 | 1474.8 | 186 | 3047.9 | 204 | 3342.9 | ||||
| 80 | 102 | 1671.5 | 97 | 1589.5 | 198 | 3244.7 | 215 | 3523.7 | ||||
| 100 | 110 | 1802.6 | 210 | 3441.3 | 227 | 3719.8 | ||||||
| 125 | 222 | 3637.9 | 239 | 3916.5 | ||||||||
| 150 | ||||||||||||
| 200 | ||||||||||||
| 250 | ||||||||||||
| 氣源接頭 | RC1/8 | RC1/8 | ||||||||||
| DN | ES64 | ES57 ES71 |
ES65 | ES58 ES72 |
ES66 | ES73 | ||||||
|---|---|---|---|---|---|---|---|---|---|---|---|---|
| In3 | cm3 | In3 | cm3 | In3 | cm3 | In3 | cm3 | In3 | cm3 | In3 | cm3 | |
| 20 | ||||||||||||
| 25 | ||||||||||||
| 32 | ||||||||||||
| 40 | ||||||||||||
| 50 | ||||||||||||
| 65 | ||||||||||||
| 80 | 405 | 6636.7 | 405 | 6636.7 | ||||||||
| 100 | 425 | 6946.5 | 425 | 6918.1 | 650 | 10651.6 | ||||||
| 125 | 454 | 7439.7 | 450 | 7374.7 | 700 | 11470.9 | 650 | 10651.6 | ||||
| 150 | 478 | 7980.5 | 475 | 7783.8 | 910 | 14912.1 | 650 | 10651.6 | 3000 | 49161 | 2000 | |
| 200 | 1020 | 16714.7 | 650 | 10651.6 | 3000 | 49161 | 2400 | 32774 | ||||
| 250 | 650 | 10651.6 | 3000 | 49161 | 2400 | 339328.89328.8 | ||||||
| 氣源接頭 | RC3/8 | RC1/2 | RC3/8 | |||||||||
溫馨提示:
本文中所有文字、數據、圖片均只適用于參考。需要查看更多的EG6K41F(無襯里)、EG6K41Fs(襯氟塑料)氣動隔膜閥(常開型)性能參數、結構尺寸參數、價格等詳情,或要求印刷樣本,請聯系我們。